Ridiculous US patents
According to a Boston University study, 60% of claims came from "patent trolls" and cost companies $30 billion in 2011. To generate revenue, we can patent anything...
A few examples...
Patent 6360393. Filed 2/12/1999. Courtesy. Published March 26, 2002.
A stick being thrown at a dog to have fun.
A patent for a stick to be used as a toy for an animal, such as its dog.
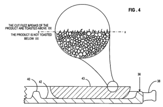
Patent 6080436. Deposited July 14, 1999. Courtesy. Published June 27, 2000.
The way to make bread suitable for consumption, baking it at high temperature for more than a minute. That is, a patent for fried toast!
The picture on the left shows how toast is fried on top, not inside. This is also part of the invention...

Image rotation patent.
As you can see in the diagram on the left, the fact that the image goes from portrait mode to landscape mode would be Apple's invention when it is controlled by the thumbs. Looks like we want to patent the movement of inches.

Patent 7963500. Submitted 12/6/2006. Given to Angela Holiday. Published June 21, 2011.
Snowman mold.
A mold formed of spherical parts made of plastic with openings for filling them with snow.

Patent 4022227. Courtesy Frank & Donald Smith Published May 10, 1977.
A way to hide baldness.
A method of giving the haircut a style that hides baldness. The patent is very old, the patent joke is not something new .

Patent 6368227. Given to Stephen Olson. Published April 9, 2002.
Swing method on swing
"A user placed on a swing suspended by two chains from one branch, on one side, and on the other - movement, pushing on one chain, and on the other."
Swinging on a swing would have been Stephen Olson's invention in 2000, at the age of 5. His father wanted to teach him how the patent system worked. As a lawyer, he had no expenses for the operation. But he did not expect the patent to be confirmed.

Patent 5443036. Courtesy Martin Abbott & Kevin Amiss Published November 2, 1993.
Method of training your cat
"It's directing the laser beam on the wall or floor towards the cat and moving the beam to excite it."
So it was worth a patent to follow the bright spot for your cat.

Patent US20100175018. Requested by Microsoft on January 7, 2009 (yet to be provided).
Virtual page rotation
"The page rotation gesture on the displayed page is recognized. In response, a virtually rotating page is displayed on the touchscreen. "
Still, if I've already seen such a graphical effect on older computers like the Apple II. Here's a BeOs video showing the same effect.

Patent 7788260. Submitted 18/10/2004. Courtesy of Facebook Published August 31, 2010.
Classify search results by number of clicks
"Search results are generated in response to a query based on the frequency of clicks on results pages by social network members."
Than to make Google jealous.

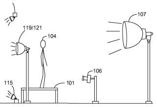
Patent 8676045. Submitted 11/9/2011. Courtesy of Amazon Published March 18, 2014.
Take a picture on a white background
"Studio arrangement for shooting photos or videos. Front light directed at the background, a photo taken between the light and the background... and at least one backlight. "
Photographers rip off their hair: they can no longer put the spotlights as they would like without infringing the patent! Directing light on the wall (which I do every day) is an invention.
No more jokes...
After that, on December 13, 2000, she sued the Internet company Wundigi. She states, "We owe it to our shareholders to exploit intellectual property" like any other company. However, the patent does not mention a mouse and only refers to a keyboard for working with a link. In addition, a prototype hypertext system had already been created in 1968 by a Stanford researcher. Lawsuit was lost for BT
Patent Services
- Ask Patent. Created jointly by USPTO and StackExchange, this site answers questions and helps you find prior art.
- OPN Pledge. Google leaves the free use of some patents provided that it is not first pursued. The interest is to give an advantage to companies that are not suing. But against patent trolls, it's futile.
- Open network of inventions. A pool (including IBM, Novell, RedHat) created to protect Linux by filing patents to counterattack companies that would sue Linux users.
- Matchmaker. Wiki patent references. (English )
Documents
- Who is pursuing? Great patent circus between mobile device providers .